4daee989e6e084ffd0e8d185ff1e9e3f4a6497ed
日本AV元数据抓取工具
关于本软件
目前,我下的AV越来越多,也意味着AV要集中地管理,形成媒体库。现在有两款主流的AV元数据获取器,"EverAver"和"Javhelper"。前者的优点是元数据获取比较全,缺点是不能批量处理;后者优点是可以批量处理,但是元数据不够全。
为此,我写出了本软件,为了方便的管理本地AV,和更好的手冲体验。
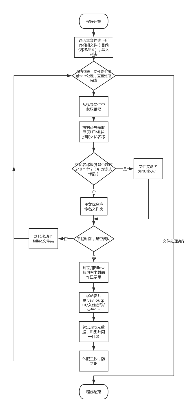
软件流程图 (下下一个为使用教程)
如何使用 (如果使用release的程序可跳过第一步)
- 请安装requests,pyquery,lxml,Beautifulsoup4,pillow模块,可在CMD逐条输入以下命令安装
pip install requests
pip install pyquery
pip install lxml
pip install Beautifulsoup4
pip install pillow
- 你的AV在被软件管理前最好命名为番号:
COSQ-004.mp4
文件名中间要有减号"-",没有多余的内容只有番号为最佳,可以让软件更好获取元数据
- 把软件拷贝到AV的所在目录下,运行程序(中国大陆用户必须挂VPN,Shsadowsocks开全局代理)
- 运行AV_Data_capture.py
- 软件会自动把元数据获取成功的电影移动到JAV_output文件夹中,根据女优分类,失败的电影移动到failed文件夹中。
Languages
Python
98.3%
Shell
0.7%
Makefile
0.4%
PowerShell
0.3%
Dockerfile
0.3%
